文章来源:筑龙路桥市政
来源:筑龙论坛
版权归原作者所有

一、组合钢板梁桥主要内容

1、组合梁与非组合梁在力学上的相异点
2、组合钢板梁的分类及其特点
3、组合钢板梁桥的现状及其发展
4、钢板梁
5、钢板梁
6、梁与混凝土桥面板的连接
7、连续组合钢板梁桥

二、组合梁与非组合梁

组合梁与非组合梁在力学上的相异点

图1 组合梁与非组合梁的截面力

三、组合梁的分类及其特点

组合梁的定义:当钢梁与混凝土桥面板之间用连接件接合在一起,两者间不能自由发生相对滑移、共同承担纵桥向弯矩时,称为组合梁。
组合钢板梁的定义:是指用3块钢板焊接成截面为I形钢梁的组合梁。

图2 连接件



刚性组合梁:梁板接合面上使用的是刚性连接件,两者间不发生相对滑移,截面应变变化连续,平截面假定成立,计算比较简单。
弹性组合梁:梁板接合面上使用的是弹性连接件,允许两者间发生一定程度的相对滑移,截面应变变化不连续,计算比较复杂。
柔性组合梁:梁板接合面上使用的是柔性连接件,允许两者间发生相当程度的相对滑移,截面应变变化不连续,计算比较复杂。

图3 刚度不同时相对滑移量的分布


活荷载组合梁:不用脚手架施工、直接在钢梁上拼装模板、浇筑混凝土桥面板时,钢梁及其桥面板等前期死荷载由钢梁承担,而路面铺装等比较小的后期死荷载由混凝土桥面板已经硬化的组合梁承担,即承担后期死荷载及其活荷载的组合梁。
死活荷载组合梁:用脚手架施工、在桥面板完全硬化后撤除脚手架时,钢梁、桥面、路面铺装等死荷载都由组合梁承担,即承担所有死荷载与活荷载的组合梁。

图4 组合梁承重按施工分类


简支组合梁:简支组合梁的钢梁下翼缘承受拉应力,而混凝土桥面板可以设计成仅仅承受压应力,完全没有拉应力作用。
连续组合梁:连续组合梁在桥墩上受到很大的负弯矩作用,其桥面板如何承受拉应力、防止发生有害裂缝是一个未完全解决的课题。


非组合钢板梁桥:横撑、竖撑,加劲肋等辅助构件很多

图5 非组合钢板梁桥的承重体系
组合钢板梁桥—欧洲设计上的变迁


组合钢板梁桥—日本设计上的变迁

图5 日本早川桥 相邻2座桥(4根主梁--2根主梁)
采用预应力混凝土桥面板,减少主梁根数;不设或少设横撑、腹板加劲肋 ;维护容易,造价大幅度降低。

组合钢板梁桥的发展趋势
采用预应力混凝土桥面板,减少主梁根数;
对承重体系加以改进,不设或少设横撑、腹板加劲肋;
采用高强钢材、轻质或钢纤维混凝土等新型建筑材料;
推广使用耐候钢,节省防锈等维护费用;
用等高或连续变截面压延钢板翼缘,代替多层或间断变截面钢板翼缘;
实行多跨连续,少设或不设伸缩缝;
使用橡胶支座,使各桥墩减少水平地震荷载;
把钢梁与混凝土桥墩刚接,节省支座维护费用。


组合钢板梁的承载性能--屈曲形式

图6 钢板梁屈曲形式
非组合钢板梁的承载性能—防止屈曲失稳的措施
腹板的局部屈曲:加大腹板厚度、设横纵向加劲肋
压缩翼缘的竖向屈曲:限制腹板宽度与厚度比
压缩翼缘的扭转屈曲:限制翼缘宽度与厚度比
梁整体横向屈曲:调整翼缘与腹板截面积的比,设竖向横撑


组合钢板梁的承载性能—承载性能方面的特点
在弯矩作用区间,中性轴位置向桥面板侧上移,终局时钢梁截面压缩区范围很小,可以不设纵向加劲肋。
弯矩作用区间,即使把横向加劲肋的间距增大、即纵横比加大到a=3,还有增大腹板高厚比的余地。
组合钢板梁试件的最大荷载,与把截面假定完全塑性状态算出的抗弯承载力较接近,能够发挥密实截面的承载性能。
在组合钢板梁的剪力作用较大区间,腹板屈曲后的剪切强度很难提高,还不宜加大纵横比或减小腹板厚度的限值。
组合钢板梁桥面板的混凝土、钢筋能够承担一部分剪力,其抗剪承载力比纯钢板梁大约增大16%。
以2主梁桥为例的钢板梁设计要点
在组合钢板梁的弯矩作用区间,中性轴位置向桥面板侧上移,终局时钢梁截面压缩区范围很小,可以不设纵向加劲肋。这种情况下,如果钢板梁腹板厚度过大,设置一列纵向加劲肋、使腹板厚度统一起来是可行的。
正弯矩区的钢板梁受到的剪力较小,再加上由于省略纵向加劲肋后钢板变厚、剪应力相对地减小。为此,横向加劲肋的纵横比可以加大到a=3,即横梁之间不设置横向加劲肋是可能的。但是中间桥墩附近等剪力较大的区间,横向加劲肋的间距还有待进一步研究。
伴随着钢板翼缘及其混凝土桥面板的厚度都相应增大,翼缘受到桥面板的约束及其腹板受到翼缘的约束都变大,屈曲强度也增大。在组合钢板梁的正弯矩作用区间,即使把横向加劲肋的间距增大、即纵横比加大到a=3,还有增大腹板高厚比的余地,其上限可以设为h0/tw=180。
以2主梁桥为例的横梁布置设计要点
将横梁布置在横断面上部比布置在中部,主梁下翼缘的水平位移与弯曲应力大约高出5倍、3倍,当布置在下部时进一步减小。考虑到桥面板等的施工,把横梁布置在横断面中部或稍微偏下的位置比较妥当。
横梁间距越大,下翼缘的水平位移也越大,但是,即使是间距大到30m其位移也未达到3mm,反而桥墩附近的弯曲应力随之减小。调查已建桥梁可知,横梁间距大致在5~10m,而桥墩附近即负弯矩作用区一般都比较小,大致为5m。
横梁截面刚度越大其位移也减小。调查已建桥梁可知,横梁一般都使用I形钢,基本上依据施工时的荷载及其安定性来决定截面尺寸。但同时为了防止负弯矩区的钢梁整体横向屈曲,要确保横梁的截面刚度。
为了防止钢梁整体横向屈曲,要保证横梁与横向加劲肋构成的U形刚构具有一定的刚度,特别要验算支座上的U形刚构的刚度,确保由桥面板传来的横向荷载有效地传给支座。
横梁在使用荷载作用下的应力极其小,与主梁接合部的疲劳问题不突出,接合方式等可以考虑施工性来决定。
要考虑横梁在施工时的作用进行设计,兼作桥面板施工的支架等等。


桥面板的分类与特点
混凝土桥面板
钢桥面板
钢与混凝土组合结构桥面板



混凝土桥面板:现浇,预制;预应力,非预应力;直线底面型,曲线底面型;固定支架施工,移动支架施工。
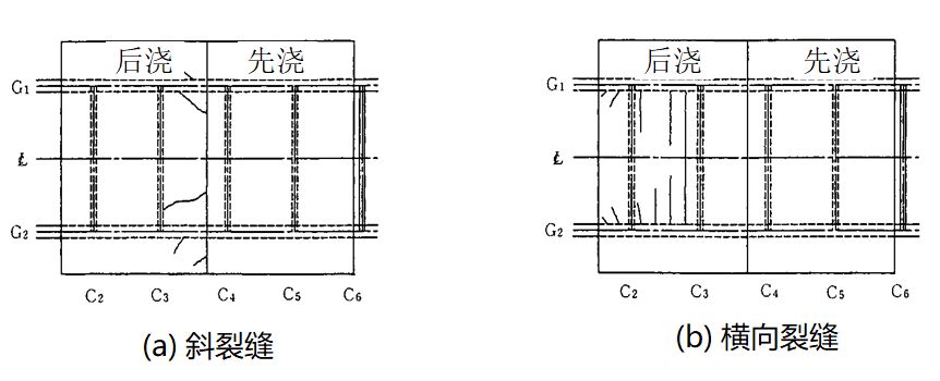
现浇桥面板的早期裂缝的特点
施加预应力之前,后浇混凝土段接缝附近桥面底板产生斜裂缝后浇混凝土的约束所致。
施加预应力之后,后浇混凝土段的桥面底板产生横向裂缝预应力、支架移动、钢板梁约束所致。

施加预应力一段时间后,在横梁正上方桥面底板产生横向裂缝预应力钢筋偏心配置后,桥面板上拱,同时主梁上翼缘受到横梁与横向加劲肋的约束而不能随桥面板协调变形,使横梁正上方的连接件受拉,从而在横向预应力作用发生横向裂缝。

现浇桥面板的早期裂缝的预防
抑制混凝土发热量:尽可能减少水泥单位用量,或使用发热小的水泥。要保持桥面板上面的湿度,加强保温,下面尽可能采用木制模板。
添加适量膨胀剂:一般伴随着降温,混凝土会发生体积缩小,通过使用膨胀剂能够某种程度地抑制体积缩小。
分级施加预应力:可考虑在初期阶段,将预应力仅施加能够保证支架移动的部分,其余的待混凝土完全硬化后再施加。
固定支架浇灌:支架移动所引起的应力加剧了早期裂缝的发生,将移动支架改为固定支架浇灌混凝土也是可以选择的施工方法之一。
增加钢筋用量:钢筋用量的增加一般不会直接防止裂缝的发生,但是会减小裂缝宽度及其间距。为此,可以采取在钢板梁上方沿着纵向配置中段钢筋,在接缝附近增加横向钢筋等措施。
适当地设置连接件:防止横梁正上方的桥面底板产生横向裂缝的方法之一,是要在横梁处正上方合理设置连接件。
现浇桥面板的损坏机理
桥面板的收缩变形受到钢板梁的约束,在施工阶段就可能产生了沿着纵桥向的附加拉应力,甚至出现了肉眼观察不到的微细裂缝。
通行后的车辆荷载引起的拉应力与早期发生的拉应力合成,就会在桥面板底面产生横向裂缝,如图(a)所示。
随着车辆荷载的长期作用,产生纵向裂缝后形成纵横交错的形状,并贯通到桥面板上表面,如图(b)所示。

伴随着裂缝面间骨料咬合力的丧失,桥面板的抗剪性能逐渐降低,产生更多裂缝,如图(c)所示。
当车辆荷载超过其抗剪强度后,混凝土就开始脱落而损坏,如图(d)所示。一般认为导致最终的破坏是剪切疲劳。

预制桥面板的技术特点
从现浇混凝土桥面板的损坏过程可以认识到,损坏一般起因于非荷载作用所引起的裂缝,要确保其耐久性就必须对早期裂缝的发生加以防止。
预制桥面板在浇灌后到铺设,都放置一定的期间加以养护,其水合热引起的温度应变及其干燥收缩变形都未受到外界的约束,产生的应力极小,预制桥面板的推广使用很有必要。
当预制桥面板单向配筋、既仅在桥梁横向配置预应力钢筋的情况下,即使已出现裂缝其裂缝面间的磨损速度也大幅下降。
仅在桥梁横向配置预应力钢筋,预制桥面板不仅可以防止早期裂缝的发生,而且其抗疲劳强度也大幅度提高,当然采用双向配置预应力钢筋的话其性能将更加被改善。

预制桥面板的接缝形式
摩擦型
一般在桥梁纵向施加预应力时使用的形式之一,弯矩由预应力钢筋负担,而剪力假设由两者间的摩擦负担。接缝间涂上胶结剂,达到防水的目的。
剪力键型
在两块板的接合面上做成槽形,并填充砂浆,使其发挥剪力键的功能。填充的砂浆要确保不会收缩,有时使用无收缩砂浆或加入若干膨胀剂。与摩擦型类似,无需繁杂的施工工序,一般在桥梁纵向施加预应力。

预制桥面板的接缝形式
环形钢筋型
在间距很大的接缝中,把两块板的钢筋各自做成环形并相互交错,然后填充混凝土。桥梁纵向无需施加预应力,基本上具有与桥面板同等的强度性能。
钢管键型
把填充砂浆了的方钢管作为剪力键,并在接缝之间灌注能够防水的树脂。用到桥梁纵向未施加预应力的人行天桥桥面板上后,未发现漏水等事故,非常完好。



组合结构桥面板
用焊钉、弯折钢板、钢管等等都可以作为连接件的连接件型组合。
格构型组合板是用型钢代替一部分钢筋然后浇灌混凝土,一般用较薄的钢板作为底模板并构成一体。

用开孔钢板连接件
夹层式组合



组合梁截面应力计算—桥面板的有效宽度
主梁Ga与Gb之间的桥面板截面内应力s(y)在主梁上成为最大、即达到smax,越到跨中变得越小,通常将这一现象称为剪力滞。精确计算是比较复杂的,一般用桥面板有效宽度考虑。
桥面板有效宽度:假设桥面板跨中某宽度的截面是不发挥作用的,仅某宽度λ范围内的截面承担荷载。即有效宽度依据应力分布面积相等,用下式计算:

有效计算模式

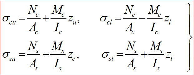
组合梁截面应力计算—截面分力法
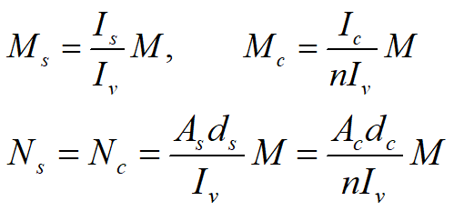
将截面上作用的弯矩M分解成,分别作用在钢梁与桥面板截面上的弯矩Ms、Mc及其轴力Ns、Nc。即采用截面分力法,依据梁理论,桥面板上、下缘及其钢板梁上、下缘的应力用下列各式计算。


组合梁截面应力计算—荷载引起的截面力
作用力平衡式、截面转角及其轴向变形条件式为:

依此可以推导出Ms、Mc、Ns、Nc的计算式为:

组合梁截面应力计算—徐变引起的截面力
组合梁在弯矩M的作用下,混凝土桥面板截面上分担了弯矩Mc及其轴力Nc。当桥面板不受到钢梁约束时,其截面中性轴上会因徐变而自由地产生应变e1(图b);当使桥面板的截面返回到当初的应变状态时,施加的拉力为N1(图c)
实际上桥面板受到了约束而必须与钢梁的变形保持协调,为此将拉力N1释放,因徐变其组合截面上产生轴力N1及其弯矩M1,由下式计算。Φ1为徐变系数。

组合梁截面应力计算—干燥收缩引起的截面力
收缩变形与徐变一样也是混凝土所特有的性质,伴随着收缩变形徐变也发生,且徐变系数j2比持续荷载作用下的j1大许多,j2=2j1。则混凝土的弹性模量为Ec2=Ec/(1+j2/2),与此相对应,弹性模量比为n2=n(1+j2/2)。当桥面板不受到钢梁约束时,其截面中性轴上会因收缩变形而自由地产生应变e2;当使桥面板的截面返回到当初的应变状态时,施加的拉力为N2。
因收缩变形,组合截面上产生轴力N2及其弯矩M2由下式计算。

组合梁截面应力计算—温差引起的截面力
在钢板梁与桥面板间的连接件时温差的影响也不容忽视。即使对于简支梁体系,钢梁与混凝土桥面板的温度升降不同(导热率不同),两者间必然产生温差DT,可以不考虑徐变的影响,即混凝土的弹性模量不因温差而改变。
设钢材与混凝土的热膨胀系数都为a,因温差组合截面上产生轴力N3及其弯矩M3为:

当求出由徐变、收缩及其温差引起的组合截面作用力后,计算桥面板上、下缘及其钢板梁上、下缘的应力,并与荷载作用下的应力相组合加以验算。

组合梁截面应力计算—应力验算
当求出由徐变、收缩及其温差引起的组合截面作用力后,计算桥面板上、下缘及其钢板梁上、下缘的应力,并与荷载作用下的应力相组合加以验算。
设某组合截面梁上作用弯矩M=1500kNm,收缩应变为e2=20×10-5,温差为DT=10℃,组合截面上由徐变、收缩及其温差引起的应力分布为:

连接件上剪切作用力的计算—荷载作用时
在剪力S作用下,钢板梁与桥面板间单位长度上作用的纵向剪力的计算

连接件上剪切作用力的计算—徐变、收缩、温差的影响
由徐变、收缩、温差产生的钢梁与桥面板间剪力一般在梁端部最大,离梁端越远即达到某个长度lh时几乎为零,假设剪力分布为三角形,a为主梁间距,L为跨度。

由徐变、收缩及其温差引起的桥面板上作用的轴力求出之后,钢板梁与桥面板间单位长度上的纵向水平剪力用下式计算:

当求出由徐变、收缩及其温差引起的,钢板梁与桥面板间单位长度上的纵向水平剪力后,并与荷载作用下的剪力相组合,加以验算连接件的数量。


连续组合梁的分类--按照负弯矩区组合梁设计方法分类
连续组合梁在跨中附近即正弯矩作用下,截面拉伸区是抗拉强度高的钢材板、压缩区是抗压强度高的混凝土桥面板,组合后性能进一步得到了提高。
在桥墩附近受到很大的负弯矩作用,截面拉伸区是桥面板、压缩区是钢板,不仅两种材料的性能未能有效地发挥,而且桥面板处于最不利受力位置。
根据对负弯矩区桥面板的性能要求,可以分成不允许拉应力发生、不允许裂缝产生、限制裂缝宽度的3种设计方法。
如果继续细分的话,又可以分成在包括活荷载、及其不包括活荷载的荷载组合下,不允许拉应力或裂缝发生。
在不采取任何措施的情况下,负弯矩区桥面板发生裂缝是不可避免的,问题是要确保裂缝宽度不要发展到有害的程度是设计原则。
连续组合梁的分类--按照负弯矩区是否沿着纵向施加预应力分类配置预应力钢筋法
依据PC钢材直接给桥面板施加预应力,可以在桥面板与钢梁已组合后,也可以在组合前进行施加预应力的施工。要注意的是在组合后施加的预应力一部分将被钢梁分担,施加的压力比较大。采用该法能够有效地施加预应力,减小钢梁截面,但是,在现场施加预应力并不容易、施工周期也长,今后对桥面板的局部翻新也比较困难。连续组合梁的分类--按照负弯矩区是否沿着纵向施加预应力分类
支座顶升法:
将中间支座上的钢梁预先抬升某个高度,然后浇筑混凝土桥面板,待硬化后使钢梁返回到设计位置。这是使支座上的钢梁预先作用正弯矩,间接地给桥面板施加预压应力。当对多跨桥梁的所有中间支座上的钢梁同时顶升时,顶升高度较大,安全性难以保证,施工成本也上升。这种情况下,可以采取逐个支座顶升及其浇筑混凝土桥面板的施工法,其顶升高度将大幅度下降。

加载配重法
利用钢梁的弯曲变形恢复性能,首先浇筑正弯矩区的混凝土桥面板,待硬化后加载配重;然后浇筑负弯矩区的混凝土桥面板,待硬化后撤去配重。

负弯矩区使用钢纤维混凝土
物部川铁路桥
各跨跨径:46.9m+2*47.5m+46.9m
桥面板:轻质混凝土桥面板
钢材:耐候钢
连接件:负弯矩区用开孔钢板连续组合梁的分类--按照组合是否沿着桥梁全长连续分类
沿着桥梁全长用刚性连接件连接、即组合连续,桥墩上桥面板就发生很大的拉应力。
要减少这个拉应力,将负弯矩区设计为非组合或柔性组合、即组合断续。
采取组合断续的连续梁,在均匀分布荷载作用下,支座上桥面板拉应力能够降低。
在这里值得要说明的是桥面板仍然是连续的,仅仅是钢梁与桥面板的组合是断续的。
以上内容来源于网络收集整理,如有侵权请联系客服